
【文/羽扇不雅金责任室】尊龙体育网
本年2月,国度金融监督束缚总局泉州监管分局显露行政处罚信息,泉州银行股份有限公司因存在多项不法违纪步履,被统统处以625万元罚金,创下该行确立以来单次处罚最高金额记录,同期多名相干包袱东说念主受到严厉追责,彰显监管部门对银行业违纪步履的零容忍气魄。
把柄监管公示,这次泉州银行波及的违纪步履共计八项,遮掩信贷审批、数据报送、进款业务、单据操作、内控束缚等多个中枢贪图时代,具体包括小微企业和涉农贷款数据不果真、信贷钞票风险分类束缚不到位、个东说念主贷款业务束缚不到位、失当给与进款、EAST数据报送不准确、贷款“三查”不到位、办理银行承兑汇票业务不尽责、第三方归并数据安全风险管控不到位。

截图来自国度金融监督束缚总局官网
这次处罚严格除名“双罚制”原则,除对机构层面处以大齐罚金外,相干包袱东说念主也受到相应惩责。其中,林堃铭被终生谢绝从事银行业责任,杨伟、骆雪如、陈晓春三名包袱东说念主诀别被赐与告戒,并各处以5万元罚金,明确传递出监管对违纪步履“既罚机构、也罚个东说念主”的强硬态度。
公开信息骄傲,这次625万元重罚并非独劳动件,而是泉州银行近期合规风险集会浮现的体现。2025年,该行及旗下分支机构已屡次收到监管处罚,统统罚没金额超百万元。其中,2025年12月泉州银行有两家分行接连受罚:莆田分行因贪图性物业贷款与状貌贷款贷前拜访不尽责、贷后束缚不到位,表外业务未审慎核查贸易布景果真性,职工步履束缚不到位等问题被罚105万元;福州仓山支行则因未尽责核实银行承兑汇票贸易布景及保证金开首,以及违纪收取贷款手续费被罚55万元。
在合规风险浮现的同期,泉州银行的贪图功绩与钞票质地也面对不小压力。财务数据骄傲,2025年景为该行贪图的分水岭,前三季度营业收入同比下滑超12%,净利润同比大跌23%,往日第三季度更是出现自2009年改名以来初度单季亏蚀,盈利才略显赫弱化。钞票质地点面,该行不良贷款率归并多年上行,2024年末已高于行业平均水平,拨备遮掩率抓续下滑,2025年三季度已贴近150%的监管底线,风险扞拒才略承压。
此外,2025年泉州银行中枢束缚层资格密集调度,原董事长到龄退休,由江文鹏接任董事长一职。江文鹏此前历任该行多个枢纽束缚岗亭,具有多年银行业从业资格,曾先后在风险束缚、公司金融等范围担任要职。这次就职前,他曾任泉州银行行长、副行长等职务,深度参与该行多项计谋方案与相似运营束缚。跟着董事长及多名枢纽岗亭东说念主员的集会变更,高层变动一定进度上影响了计谋施行的归并性与内控传导的有用性,进一步加重了贪图波动与风险管控压力。
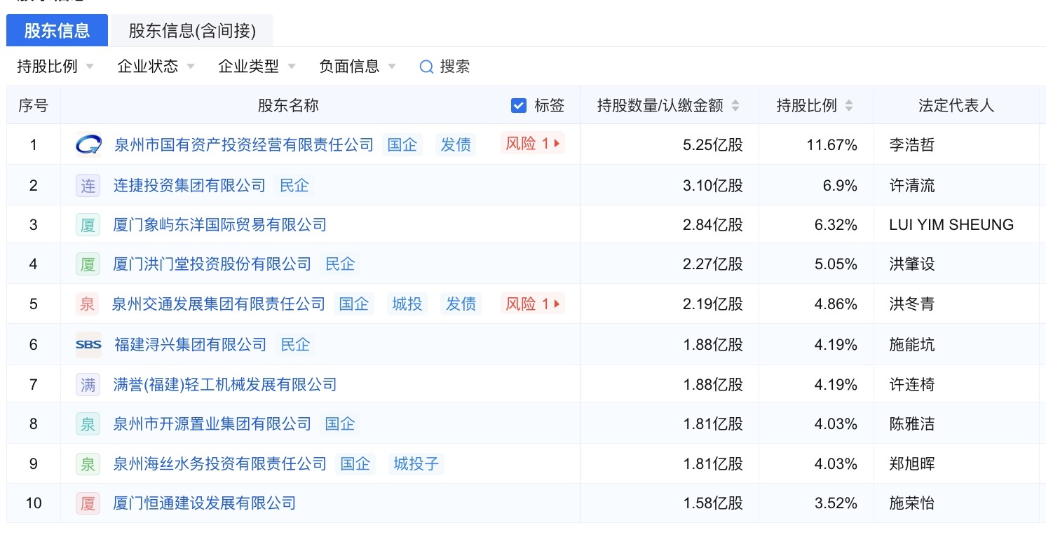
股权结构方面,泉州银行无骨子逼迫东说念主,前十大鼓舞抓股比例不及60%,股权结构较为漫步。其中,泉州市国有钞票投资贪图有限包袱公司为最大单一鼓舞,抓股比例11.67%;其他抓股5%以上的鼓舞诀别为连捷投资集团有限公司(6.9%)、厦门象屿东瀛海外贸易有限公司(6.32%)、厦门洪门堂投资股份有限公司(5.05%)。

截图来自企查查
钞票欠债方面,限度2025年三季度末,泉州银行总钞票1784.18亿元,较上年末增长1.77%。贪图功绩下滑显著,前三季度已毕营业收入23.96亿元,同比下落12.54%;净利润2.45亿元,同比下落23.03%,三季度单季出现净亏蚀1300万元,为2009年改名以来初度季度亏蚀。钞票质地抓续承压,不良贷款率从2022年的1.52%升至2024年末的1.83%,2025年6月末虽降至1.71%,但仍高于同期世界买卖银行平均水平。拨备遮掩率归并下落,2025年三季度末降至158.7%,贴近150%监管红线。成本弥散率方面,2025年三季度末为13.76%,较上年末下落0.36个百分点,成本补充压力有所加大。
看成区域性城市买卖银行,泉州银行容身泉州原土,深耕小微与地点实体经济,这次罚单既是监管部门的惩责,亦然对其合规贪图的警示。业内东说念主士分析,现时金融业处于严监管、强合规的新常态,泉州银行需以这次处罚为机会,全面整改违纪问题,重建合规风控体系,压实内控包袱;同期优化钞票质地,加大不良清收贬责力度,调度业务结构,解脱对传统息差业务的过度依赖,才智已毕可抓续发展。
限度现在,泉州银行尚未就这次罚单及相干整改步调公开表态。后续其整改见效、贪图方向确立情况尊龙体育网,以及新束缚层的治理举措,仍值得商场心计。